Guide de pose
Guide de pose
Veuillez sélectionner un ou plusieurs chapitres à télécharger.
Table des matières

Bande de départ pour tuiles

Montage de la bande de départ

Le débord de gouttière de la bande de départ doit se trouver dans le tiers arrière de la largeur de la gouttière et ne doit pas dépasser 80 mm.
Mesurez 450 mm à partir du bord supérieur de la première tuile en direction de la gouttière (veillez à ce que le débord de gouttière soit compris entre 30 et 80 mm). Faites une marque à 150 mm (largeur de la bande de départ) du bas (= largeur de la bande de départ jusqu’au bord supérieur).

Répétez cette opération sur le deuxième côté de la gouttière et reliez ces marques par un trait de cordeau horizontal.

La bande de départ doit être clouée de manière à résister aux tempêtes (clouer tous les trous pré-percés). Préfixez la bande de départ sur toute la longueur avant de clouer tous les trous pré-percés avec les clous PREFA fournis.

Remarque

Plus la bande de départ est montée avec précision, plus il vous sera facile de poser correctement les produits PREFA.
Veillez à ce que la bande de départ soit bien posée sous la couche de séparation.

Bande de départ

Montage de la bande de départ

Le débord de gouttière de la bande de départ doit se trouver dans le tiers arrière de la largeur de la gouttière et ne doit pas dépasser 80 mm.
L’arrêt de la bande de départ doit être rectiligne sur toute la longueur de la gouttière, grâce à un trait de cordeau réalisé au préalable.
La bande de départ doit être clouée de manière à résister aux tempêtes (clouer tous les trous pré-percés).
Ensuite, il faut réaliser le traçage du trait carré vertical.
Préfixez la bande de départ sur toute la longueur avant de clouer tous les trous pré-percés avec les clous PREFA fournis.

Remarque

Plus la bande de départ est montée avec précision, plus il vous sera facile de poser correctement les produits PREFA. Des repères (cotes de traçage) sont prévus pour chaque type de couverture de toiture PREFA afin de faciliter la pose.

Veillez à ce que la bande de départ soit bien posée sous la couche de séparation (voir figure au-dessus).

Particularité pour R.16 et panneau de toiture FX.12

Ajuster la bande de départ pour que le marquage soit à l’axe de la toiture pour la R.16 ou le panneau de toiture FX.12.
Lors de cette opération, veillez à ce que la zone pour le rebord latéral (par ex. : pour la réalisation de la rive) ne se trouve pas au niveau de l’agrafe de la R.16 ou du panneau de toiture FX.12. Le cas échéant, décalez la bande de départ d’un quart de la dimension d’une R.16 ou d’un panneau de toiture FX.12.

Particularité pour les losanges de toiture 29 × 29 et 44 × 44

Ajustez la bande de départ pour que le marquage soit à l'axe de la toiture.
Lors de cette opération, veillez à ce que la zone pour le rebord latéral (par ex. : pour la réalisation de la rive) ne corresponde pas au centre des losanges de toiture 29 × 29 ou 44 × 44.
. Le cas échéant, décalez la bande de départ d’un quart de la dimension (1/4 de la cote de traçage verticale) d’un losange de toiture 29 × 29 ou 44 × 44.

Réalisation d'une rive et raccordement latéral

  • Pliez la couverture de toit PREFA de 30 mm vers le haut, à angle droit par rapport à la surface du toit (Fig. 1).
  • Frappez le bord supérieur de la bande de maintien de la rive d’origine de façon à l’appliquer sur le bord supérieur de la planche de rive et clouez la bande de maintien de manière qu’elle soit résistante aux tempêtes (Fig. 2).
  • Dans les régions sujettes à l’enneigement, la rive doit être réalisée comme illustré à la figure 3.
  • Si la rive est formée avec une planche de rive rehaussée, il faut exécuter les travaux comme indiqué sur la variante illustrée à la figure 4.

Particularité pour R.16 et panneau de toiture FX.12

Au niveau où doit être réalisé le pliage vers le haut, découpez l’agrafe brevetée supérieure de manière à laisser une agrafe d’accrochage et pliez la R.16 ou le panneau de toiture FX.12 à 30 mm vers le haut, à angle droit par rapport à la surface du toit. (Fig. 1 et 2)

Particularité pour les bardeaux

Au niveau de chaque relevé des bardeaux du côté gauche (bande de rive et abergement), il faut couper la pince latérale vers le bas afin d’éviter un effet de capillarité.

  • Marquez la zone du rebord et le supplément de l’agrafe de 30 mm (Fig. 1).
  • Découpez le bardeau avec le supplément de l’agrafe (Fig. 2).
  • Réalisez la découpe du pli (Fig. 3 et 4).
  • Posez le bardeau découpé et réalisez le pliage vers le haut (Fig. 5 et 6).

Variantes avec des bardeaux raccourcis ou des bardeaux de raccord

D’autres variantes sont possibles et consistent à placer les agrafes en dehors de la zone du rebord, à l’aide d’un bardeau raccourci ou d’un bardeau de raccord.

Variante 1 : Bardeau raccourci
Raccourcissez et posez le dernier bardeau avant le relevé (Fig. 7 et 8)

Variante 2 : Bardeau de raccord
Posez le bardeau de raccord, découpez-le avec le supplément de l’agrafe de 30 mm et réalisez le pliage vers le haut (Fig. 8 et 9).

Une exécution dans les règles de l’art permet de garantir l’étanchéité de la toiture.
Une fois les bardeaux préparés, il est possible de réaliser la tôle de raccordement (par ex. habillage de rive ou raccordements de couloir) et de l’intégrer dans la couverture.

Particularité du DS.19

Au niveau de chaque relevé des bardeaux du côté gauche (bande de rive et abergement), il faut couper la pince latérale vers le bas afin d’éviter un effet de capillarité.

  • Marquez la zone du relevé et le supplément de l’agrafe de 30 mm, et réalisez la découpe au niveau de l’agrafe (Fig. 1).
  • Réalisez la découpe du pli (Fig. 2 et 3).
  • Posez le DS.19 découpé et réalisez le pliage vers le haut (Fig. 4 et 5).

Variante pour les bardeaux de raccord DS.19

Une variante consiste à placer les agrafes en dehors de la zone du relevé, avec un DS.19 de raccord.

  • Posez le DS.19 de raccord et marquez l’agrafe oblique sur le rabat supérieur du bardeau (Fig. 6).
  • Découpez la pince du DS.19 autour de repère, avec une forme en arrondie (Fig. 7).
  • Posez le DS.19 de raccord et fixez-le (Fig. 8).
  • Réalisez le pliage vers le haut de la couverture de toit. (Fig. 9 et 10)

Remarque

Le DS.19 de raccord n’est pas conçu pour réaliser une couverture de toit complète.
REMARQUE : En raison des nervures anti-capillarité, il n’est pas possible de raccourcir un DS.19.

Une exécution dans les règles de l’art permet de garantir l’étanchéité de la toiture.
Une fois les DS.19 préparés, il est possible de réaliser une pièce de raccordement (par ex. habillage de rive ou raccordements de couloir) et de l’intégrer dans la couverture.

Particularité du losange de toiture 29 x 29

Au niveau de chaque relevé de losange de toiture 29 × 29 (bande de rive et abergement), il faut couper la pince latérale vers le bas afin d'éviter un effet de capillarité.

  • Marquez la zone du rebord et le supplément de l’agrafe de 30 mm.
  • Coupez le losange de toiture 29 × 29 au niveau de l’agrafe et découpez l´agrafe. (Fig. 1).
  • Ouvrez l’agrafe et coupez-la avec un arrondi (Fig. 2).
  • Posez le losange de toiture 29 × 29 découpé et réalisez le relevé (Fig. 3 et 4).

Une exécution dans les règles de l’art permet de garantir l’étanchéité de la toiture.

Une fois les losanges de toiture 29 x 29 préparés, il est possible de réaliser une pièce de raccordement (par ex. habillage de rive ou raccordements de couloir) et de l’intégrer dans la couverture.

Particularité du losange de toiture 44 x 44

Au niveau de chaque relevé de losange de toiture 44 × 44  (bande de rive et abergement), il faut couper la pince latérale vers le bas afin d'éviter un effet de capillarité.

  • Marquez la zone du rebord et le supplément de l’agrafe de 30 mm.
  • Coupez le losange de toiture 44 × 44 au niveau de l’agrafe et découpez l´agrafe. (Fig. 1).
  • Ouvrez l’agrafe et coupez-la avec un arrondi (Fig. 2).
  • L’agrafe oblique brevetée doit être encochée en haut, au niveau du rebord (Fig. 3).
  • Posez le losange de toiture 44 × 44 découpé et réalisez le relevé (Fig. 4).

Une exécution dans les règles de l’art permet de garantir l’étanchéité de la toiture.
Une fois les losanges de toiture 44 x 44 préparés, il est possible de réaliser une pièce de raccordement (par ex. habillage de rive ou raccordements de couloir) et de l’intégrer dans la couverture.

Réalisation d'une noue

Variante avec noue de sécurité

1 Tuile
2 couche de séparation
3 patte de fixation

4 tôle de noue
5 planche de noue

La noue de sécurité est recommandée par la société PREFA mais d’une manière générale, il revient à l’installateur de décider s’il souhaite mettre en oeuvre une noue de sécurité, en fonction de son expérience et de sa formation. La noue de sécurité offre une meilleure protection que les pièces de noue normales contre les remontées d’eau dans les zones exposées.


Avantages de la noue de sécurité :

  • Pas de remontées d’eau grâce au double plis
  • Produit PREFA certifié
  • Relevés supplémentaires dans la zone de recouvrement
  • Nervures anti-capillarité dans la zone de recouvrement
  • Facilité de mise en œuvre, fixation renforcée

Variante avec noue réalisée de façon artisanale

1 Tuile
2 couche de séparation
3 patte de fixation

4 tôle de noue
5 planche de noue

  • Pliez la tôle de noue jusqu’à une longueur maximale de 3 000 mm.
  • Pliez la pince latérale sur 40 mm de largeur des deux côtés.
  • Le développement dépend de la forme du toit, de sa pente et de son orientation. Elle ne doit pas être inférieure à 500 mm.
  • Si les pentes du toit sont très différentes ou si la quantité de pluie varie fortement, il faut prévoir une noue encaissée ou un joint debout au milieu de la noue.

Raccordement dans la noue

  • Au niveau du raccordement dans la noue, marquez et découpez le produit PREFA à poser avec un débord d’env. 35 mm (Fig. 1 + 2).
  • Réalisez le relevé d’accrochage selon le tracé (Fig. 3).
  • Accrochez et posez la couverture de toiture PREFA (Fig. 4).

Particularités pour les tuiles

Il faut toujours réaliser la couverture en direction de la noue. En cas de glissement de neige ou de glace, cela permet d’éviter que l'onde vienne à s'ouvrir.

  • Placez la tuile, marquez la ligne d'emboitement de la noue. Rajouter environ 35 mm supplémentaires et coupez la tuile (Fig. 1).
  • Ouvrez légèrement l'onde, pliez la pince d’emboîtement de la tuile vers l'arrière. Insérez et fixez ensuite la tuile à l’aide des pattes de fixation (Fig. 2 et 3).
  • Reformez l'arrondie de l'onde avec une cale et un maillet. Cela permet d’éviter toute déformation de la tuile (Fig. 4).

Particularités des bardeaux et des DS.19

Remarque

Avec les bardeaux et les DS.19, il faut toujours éviter que l'agrafe latérale se retrouve dans la noue (côté gauche).

Bardeau

Avec les bardeaux, si l'agrafe latérale se retrouve sur la ligne d’emboîtement de la noue, il faut fabriquer un bardeau raccourci ou utiliser un bardeau de raccord.

DS.19

Avec les DS.19, si l'agrafe latérale se retrouve sur la ligne d’emboîtement de la noue, il faut installer un DS.19 de raccord.
En raison des nervures anti-capillarité, il n’est pas possible de raccourcir un DS.19.

Particularité pour R.16 et panneau de toiture FX.12

  • Si l'agrafe latérale arrive dans l’emboîtement de la noue, le produit de couverture devra être raccourci (Fig. 1).
    Remarque : Dans le cas où la pièce de noue est fabriquée par l'artisan, il faudra obligatoirement éviter que l'agrafe latérale soit dans la noue.
  • Utilisez un R.16 ou un FX.12 entier pour fabriquer la pièce raccourcie (Fig. 2 + 3).
    REMARQUE : Choisissez la dimension de la pièce de raccord de façon à ce que la pose de l’arrêt de neige puisse se faire sans problème. Des arrêts de neige bien alignés attestent de la précision d’exécution du travail.

Remarque

En cas de mise en œuvre d’une noue de sécurité, le raccordement de la noue peut être réalisé même avec une agrafe latérale dans la noue (il est préconisé de faire la pièce raccourcie).

Réalisation de l’arêtier et du faîtage

Selon la toiture et sa fonction, il existe diverses possibilités.

Faîtière ventilée

La faîtière ventilée peut être utilisée avec des pentes de toit comprises entre 12 et 55°.
La faîtière ventilée est dotée d’une bavette d’appui des deux côtés. Il faut cependant faire un relevé sur le produit de couverture de 40 mm pour obtenir un raccord étanche à la pluie.
Fixez la dernière rangée (découpée) avec une patte de maintien, en réalisant une fixation directe latérale sur le sommet de l’onde située en-dessous ou bien sur la cale en mousse de la faîtière ventilée.

  • La dernière rangée doit être positionnée de façon à laisser une lame d’air de 80 mm. Relevez les éléments de toiture PREFA sur 40 mm (Fig. 1).
  • Gardez un jeu de dilatation d’environ 5 mm entre les faîtières ventilées. Retirez le film de protection de la cale d’étanchéité sur environ 50 mm et pliez-le vers l’extérieur (Fig. 2).
  • Positionnez les deux éclisses de raccordement au centre et fixez-les chacun avec un rivet PREFA de Ø 4,1 mm qui servira de point fixe (Fig. 3).
  • Collez la cale d’étanchéité avec la surface adhésive déjà retirée sous les éclisses de raccordement. Retirez ensuite le film de protection (Fig  4).
  • Fixez la faîtière ventilée à l’aide de vis avec rondelle d’étanchéité PREFA (longueur 60 mm), à intervalles d’env. 600 mm (Fig. 5).
    Remarque :
    Pour les tuiles, placez toujours les vis avec rondelle d’étanchéité sur le sommet de l’onde.
    Pour les bardeaux et les losanges de toiture, ne réalisez pas la fixation sur l’agrafe latérale.
    Pour les modèles FX.12 et R.16, ne réalisez pas la fixation sur le joint.
  • Suggestion de pose de l’about de faîtière ventilée (Fig. 6).
    Conseil : Commencez par poser la tôle de protection en bordure et relevez 30 mm pour les bandes côté rive avant de poser celles-ci.
  • Ajustez l’about de faîtière ventilée et fixez-le avec un rivet (Fig. 7).
  • Exemple : Découpe d’arêtier/de faîtage (Fig. 8).

Remarque

Vous devez veiller à ce que la cale en mousse autoadhésive soit placée sur toute la longueur de la couverture.

Remarque

Lors de l’installation d’ouvertures d’évacuation d’air côté faîtière dans des toitures à structure monocouche, la pénétration de neige poudreuse ne peut être complètement exclue.

Lucarne de toit

Lors du raccordement de la faîtière ventilée à la noue, il faut veiller à l’étanchéité de la faîtière ventilée et faire en sorte que les eaux de pluie ne puissent pas pénétrer à l’intérieur de la faîtière depuis la surface principale du toit.

Réalisation de l’arêtier et du faîtage avec bandes d’arêtier et de faîtage

Afin de protéger le toit contre la neige poudreuse, il est indispensable de faire un relevé sur le produit de couverture PREFA d’au moins 40 mm dans les zones d'arêtier et de faîtage.
Si la dernière rangée de tuiles est très courte, il est également possible de réaliser une bavette de finition.

Conseil : Marquez le milieu de la latte de l’arêtier avec le cordeau, afin de garantir un tracé précis.

Remarque

Découpez l’arêtier précisément selon la forme des ondes ou des agrafes.

1 vis avec rondelle d’étanchéité

2 clou

1 vis avec rondelle d’étanchéité
2 clou

3 bavette de finition

Exemple de réalisation d’arêtier/de faîtage

  • Découpez les deux abouts d’arêtier qui passent sur l’arête de manière à ce qu’ils dépassent d’environ 10 mm au niveau de la croupe, puis fixez-les aux tuiles avec des vis (Fig. 1).
  • Découpez ensuite un demi-about d’arêtier de façon à ce qu’il recouvre la première découpe des deux abouts situés en-dessous. Afin de faciliter l’ajustement de l’about supérieur, il faut étirer la partie extérieure de la découpe comme illustré sur la photo (Fig. 2).
  • Une fois l’about d’arêtier ainsi préparé et fixé sur l’arêtier, il est possible de poursuivre avec les abouts d’arêtier classiques (Fig. 3).

Particularités pour les tuiles

Si une bavette de finition doit être montée sur la tuile, Il faut ajuster l'onde de la tuile de manière à ce qu'elle soit totalement plane afin d'avoir une bavette de finition droite.

  • Coupez la pince sur le haut de l'onde et soulevez la avec la pince (Fig. 1 + 2).
  • Écrasez l'onde et la pince pour obtenir une ligne droite sans relief. Il n’est pas nécessaire de couper la pince au niveau des jonctions de tuile (Fig. 3).
  • La tôle d’appui peut maintenant être accrochée sans problème (Fig. 4).

Particularité pour les losanges de toiture 29 × 29 et 44 × 44

Si une bavette de finition doit être montée sur des losanges de toiture 29 × 29 ou 44 × 44, il faut utiliser des demi-losanges de fin pour losanges de toiture 29 × 29 ou 44 × 44. Ils permettent d’obtenir une finition homogène.

Entre les demi-losanges de fin pour losanges de toiture 29 × 29, il faut monter la bande de recouvrement (1) fournie.

Réalisation d’un faîtage simple avec accrochage par emboîtement

Après avoir découpé la couverture de toit PREFA, créez un relevé.

Particularité pour les tuiles

Après avoir découpé la tuile, réalisez un pli écrasé au niveau de l’onde centrale, afin de créer un relevé. Le pli écrasé peut être réalisé à l’aide d’une pince plate ou d’une moulureuse.

Réalisation d’un faîtage avec faîtière simple

Une faîtière simple peut être utilisée lorsque l’intervalle entre la couverture de toiture PREFA et le point de faîte est inférieur à 150 mm et qu’aucun système de ventilation n’est nécessaire.

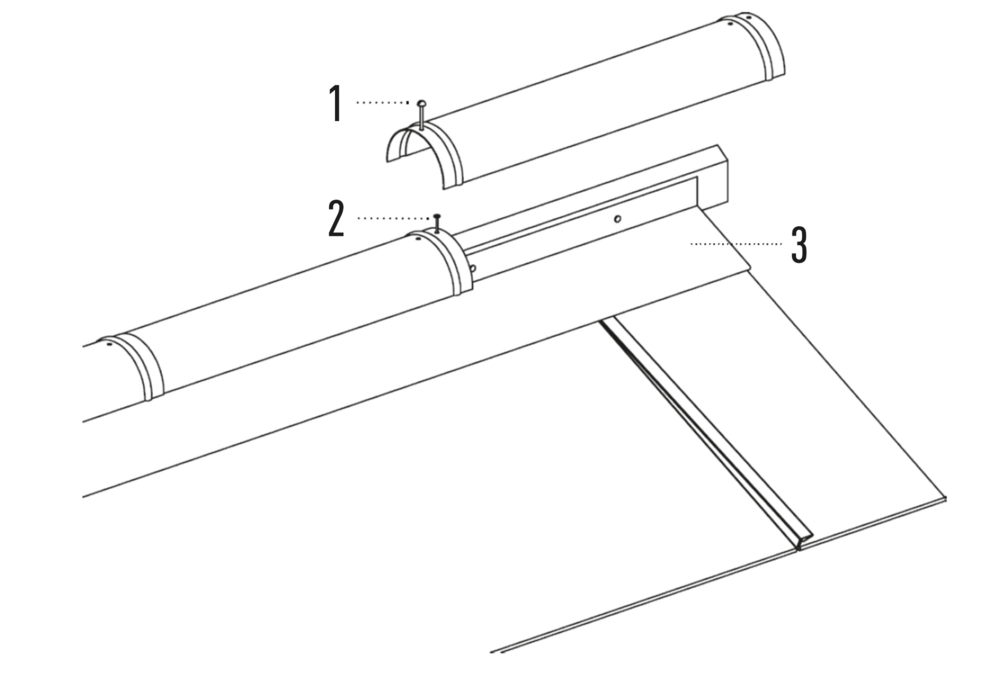
Réalisation d’un décrochement de toit

Tuile

Le décrochement de toit est réalisé à l’aide de deux bandes de départ.

1. Bande de départ pour tuiles

2. bande de départ rainurée

  • Clouez la première bande de départ (1 806 × 150 mm) de la manière habituelle.
  • Clouez la deuxième bande de départ (bande de départ rainurée) sur la première rangée de tuiles, à hauteur du rang de pureau du plus long versant. Positionnez une bande d’étanchéité selon les besoins du chantier, afin de créer une fente pour l’agrafe d’accroche de la tuile posée dessus (Fig. 1).
  • La rangée suivante pourra être posée d'un seul tenant (Fig. 2).

R.16 et panneau de toiture FX.12

  • Marquez un dépassement de 30 mm, puis découpez la R.16 ou le panneau de toiture FX.12 (Fig. 1).
  • Découpez le pli supérieur sur environ 200 mm et dégager la zone correspondante (Fig. 2).
  • L’accrochage par emboîtement supérieur est formé progressivement (Fig. 3).
  • Relevez le débord de rive de 30 mm, puis sertissez la bande de rive (Fig. 4).
  • Marquez et découpez la R.16 ou le panneau de toiture FX.12 à raccourcir au niveau du décrochement de toit (Fig. 5).
  • Posez la R.16 ou le panneau de toiture FX.12 découpés (Fig 6).
  • Agrafez ensemble les R.16 / panneaux de toiture FX.12 et rabattez l’agrafe au niveau du relevé (Fig. 7).
  • Repliez au niveau du relevé et fixez à l’aide d’une patte brevetée (Fig. 8).
  • La rangée suivante des R.16 ou de panneaux de toiture FX.12 pourra être posée d'un seul tenant (Fig. 9).

Bardeaux et DS.19

  • Si le décrochement de toit nécessite de poser une première rangée avec des bardeaux raccourcis, il faut raccourcir des bardeaux / DS.19 (Fig.  1).
  • La rangée suivante de bardeaux peut ensuite être posée sur toute la largeur (Fig. 2).
  • Décrochement de toit terminé (Fig. 3).

Losanges de toiture 29 × 29 et 44 × 44

Dans la plupart des cas, pour réaliser les décrochements de toit avec des losanges de toiture 29 × 29 ou 44 × 44, l’artisan doit façonner un larmier. Cela permet de commencer la pose facilement avec une tuile de départ de losange de toiture 29 × 29 ou 44 × 44 (Fig. 1A + 1B).

Variante A : Agrafe horizontale

La rangée suivante pourra être posée d'un seul tenant (Fig. 2A + 2B).

Variante B : Agrafe verticale

Décrochement de toit une fois la pose terminée (Fig. 3A et 3B).

Raccordement à une gouttière havraise (gouttière sur toiture)

Pliez la bande de départ 1 806 × 150 mm comme illustré ci-dessous (2 plis).